ABC Products Concept 2 Max Hydro Wood Boiler Cookstove with Oven
The ABC Products Concept 2 Max Hydro Wood Cookstove is designed as a modern day cooking and baking stove. This stove is also designed to be a central heating system with hot water via a hydronic boiler system. Take classic and contemporary to a new level with this Wood & Coal Cook Range Dual controls make this stove easy to operate and extremely efficient. Order yours today!
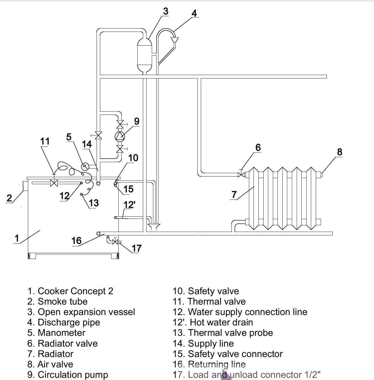
Note: When installing hydronics it's important to consult with a local certified plumber.
This Hydro model of the Concept 2 does not have the outside air intake option.
- Description
- Specifications
- Photos (10)
- Pricing
- Extended Info
- Videos (4)
- Add Review
Note: This wood cookstove is a hydronic boiler equipped with water jackets and must have water flowing through it at all times while in operation to prevent overfiring and damage to the stove. Requires electricity to run the circulation pump.
-Stainless Steel/Black and Grey/Silver color options available
-Right or left hand flue options available
The Hydro gives a contemporary style to efficient hydronic wood heating, with the added perk of baking. These wood burning cookstoves are unique because they are only (1) of (3) wood cook stoves on the North American market that provide the ability to plumb into hydronic heating systems including: radiant in floor heating, wall radiators, and baseboard. These wood ovens with boilers are built tough, they are rated to burn both wood and coal!
The Concept 2 Hydro by ABC is made in Serbia. The quality of the ABC products has been impressive, especially for the affordable price point. These wood burning cook stoves feature a sleek stylish design that fits modern and contemporary decor. Wood and Coal burning Cook Ranges with Hydronic heating systems are most common in the European region of the world. This stove provides affordable, and efficient wood hydronic heat.
The stove body is constructed of layered sheet metal, with a full refractory lining inside firebox. The Hydro model has water boiler that surrounds the firebox, allowing you to connect into your choice of hydronic heating.
This unbeatable contemporary European Wood Fired Oven with Boiler is available at a Great Price in the following colors: Inox, Gray, White, Red, and Beige
Resources:
| Concept 2 Hydro Product Specifications | ||
| Efficiency | 80.7% | |
| Total Heat Output | 85,650 BTUs | |
| Heat Output to Air | 13,650 BTUs | |
| Heat Output to Water | 72,000 BTUs | |
| Overall Dimensions | 33.46"H x 39.37"W x 22.24"D | |
| Weight | 485 lbs. | |
| Flue Diameter | 5.9" | |
| Required Draft (Pa) | 20 | |
| Max Operating Temperature (°C) | 90 | |
| Max Operation Pressure (Bar) | 2.5 | |
| Boiler Capacity | 8.45 gal. | |
| Oven Dimensions | 9.05"H x 13.78"W x 16.14"D | |
| Technological Connections | 1/2" | |
| Supply Line | 1" | |
| Return Line | 1" | |
| Firebox Dimensions | 13" H x 11" W x 12.25" D | |

Clearances:


Plumbing Items Required for Complete Installation for Wall Radiator Heat Distribution System

Be sure to check out our newly improved Cookstove Community website cookstoves.net; the best place online to connect with other cookstove users over stoves, self-sufficient living, alternative energy, and more! Take a look at our selection of videos, articles, and photos, and be sure to visit the forums to connect with like-minded folks from all over.
If you are planning to cook with a cookstove, you will need to understand some basic fire safety. Remember, extinguishing a grease or oil fire with water is not a good idea.
ABC Hydro Concept 2 - The Basics
ABC Concept 2 Hydro Cook Stove - Max vs. Regular Concept 2 Air
ABC Cook Stoves - Factory Tour - Uzice, Serbia
ABC Concept 2 Max Hydro - Firebox Grate - When to use the grate & Firebox handles






